宇树科技再申请多枚中英文名称商标 宇树科技再申请多枚新商标观点
观察君
2025-03-08 01:13
导读
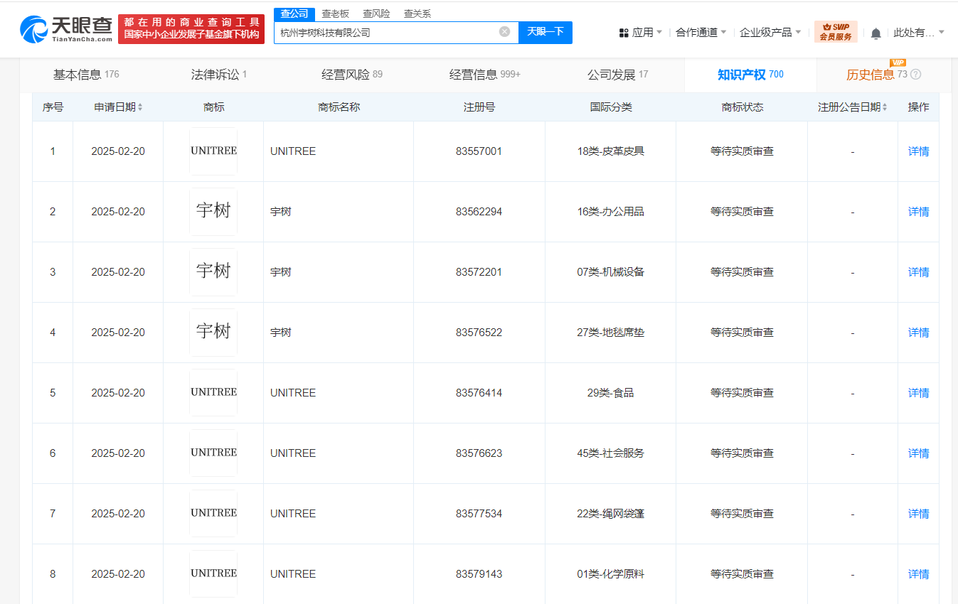
近日,杭州宇树科技有限公司申请注册多枚“宇树”“UNITREE”商标,国际分类为机械设备、颜料油漆、科学仪器等,当前商标状态均为等待实质审查。值得注意的是,此前,该公司已申请注册多枚“宇树”“UNITREE”商标,上述商标最早申请于2016年。
天眼查知识产权信息显示,近日,杭州宇树科技有限公司申请注册多枚“宇树”“UNITREE”商标,国际分类为机械设备、颜料油漆、科学仪器等,当前商标状态均为等待实质审查。值得注意的是,此前,该公司已申请注册多枚“宇树”“UNITREE”商标,上述商标最早申请于2016年。
杭州宇树科技有限公司成立于2016年8月,法定代表人为王兴兴,注册资本约259.4万人民币。股东信息显示,该公司由王兴兴、汉海信息技术(上海)有限公司、宁波红杉科盛股权投资合伙企业(有限合伙)等共同持股。


宇树科技
1.TMT观察网遵循行业规范,任何转载的稿件都会明确标注作者和来源;
2.TMT观察网的原创文章,请转载时务必注明文章作者和"来源:TMT观察网",不尊重原创的行为TMT观察网或将追究责任;
3.作者投稿可能会经TMT观察网编辑修改或补充。
